今年国家发布的优惠政策很多,我们来看看都有哪些企业所得税税收优惠可以享受?
1、小型微利企业减免企业所得税
2022年1月1日至2024年12月31日,对小型微利企业年应纳税所得额超过100万元但不超过300万元的部分,减按25%计入应纳税所得额,按20%的税率缴纳企业所得税。也就是实际税负从10%将至5%。
政策依据:《财政部 税务总局关于进一步实施小微企业所得税优惠政策的公告》(财政部 税务总局公告2022年第13号)
2、中小微企业设备器具所得税按一定比例一次性扣除
自2022.1.1-2022.12.31,对中小微企业新购置价值500万元以上设备器具,折旧为3年的,100%可在当年一次性税前扣除,折旧为4年、5年、10年的,50%可在当年一次性税前扣除,其余50%在剩余年度计算折旧进行税前扣除。

政策依据:《财政部 税务总局关于中小微企业设备器具所得税税前扣除有关政策的公告》(财政部 税务总局公告2022年第12号)
3、从事污染防治的第三方企业所得税优惠
对符合条件的从事污染防治的第三方企业减按15%的税率征收企业所得税。延长至2023年12月31日。
政策依据:财政部 税务总局公告2022年第4号
4、科技型中小企业研发费用扣除比例提高至100%
科技型中小企业开展研发活动中实际发生的研发费用,未形成无形资产计入当期损益的,在按规定据实扣除的基础上,自2022年1月1日起,再按照实际发生额的100%在税前加计扣除;形成无形资产的,自2022年1月1日起,按照无形资产成本的200%在税前摊销。
政策依据:《政部 税务总局 科技部关于进一步提高科技型中小企业研发费用税前加计扣除比例的公告》(财政部 税务总局 科技部公告2022年第16号)
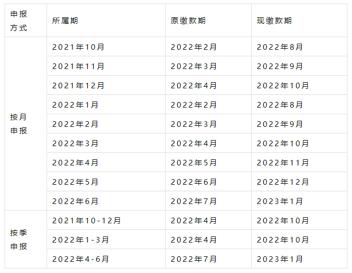
5、制造业中小微企业缓交企业所得税

政策依据:《税务总局 财政部关于延续实施制造业中小微企业延缓缴纳部分税费有关事项的公告》(国家税务总局公告2022年第2号)、《国家税务总局 财政部关于制造业中小微企业延缓缴纳2021年第四季度部分税费有关事项的公告》(国家税务总局公告2021年第30号)